Luftmengenmesser 2H

Aus Golf 1 und Golf Cabrio Wiki
Version vom 13. Mai 2021, 19:16 Uhr von WolfiGolf (Diskussion | Beiträge)
(Unterschied) ← Nächstältere Version | Aktuelle Version (Unterschied) | Nächstjüngere Version → (Unterschied)
Zur Navigation springen Zur Suche springen


Dieser Artikel betrifft:
Modell: Cabrio
Motor: 2H
Baujahr: alle
Sonstiges:

Der Luftmengenmesser 037 906 301 befindet sich zwischen dem Luftfilter und der Drosselklappe und vereint 2 Funktionen:

  1. Messung der durchströmenden Luftmenge
  2. Messung der Tempertur der angesaugten Luft

Funktion

Die durchströmende Luft betätigt eine Klappe deren Stellung über ein Potentiometer (siehe G19 im Stromlaufplan) abgefragt wird. Die Messung der Temperatur der angesaugten Luft erfolgt über einen temperaturveränderlichen Widerstand (siehe G42 im Stromlaufplan).


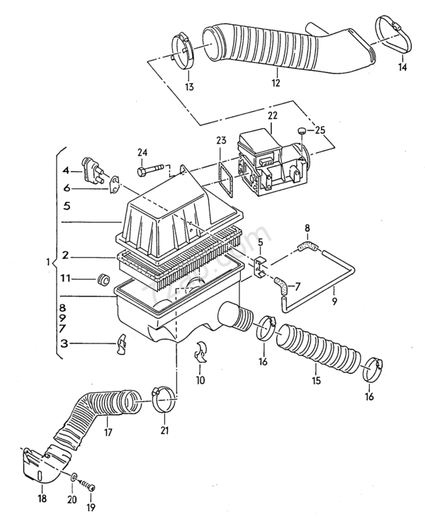
Luftfilter und Luftmengenmesser

Funktionsprüfung

mechanisch

  1. Die Klappe im Luftmengenmesser muss leichtgängig sein.
  2. Der Innenraum muss frei von Verschmutzung sein.

elektrisch

Sollwerte
Temperatur Widerstandswert
0°C 5 - 6,5kOhm
10°C 3 - 4kOhm
20°C 2,2 - 2,8kOhm
30°C 1,5 - 2kOhm
  1. Stecker vom Luftmengenmesser abziehen
  2. Den Widerstand zwischen den Kontakten 1 und 4 messen (Sollwerte siehe Tabelle).
  3. Den Widerstand zwischen den Kontakten 2 und 3 messen. Wenn die Klappe im Luftmengenmesser bewegt wird muss sich der Widerstand ändern.
  4. Den Widerstand zwischen den Kontakten 3 und 4 messen. Der Wert muss zwischen 0,5 und 1kOhm liegen.
  5. Stecker vom Luftmengenmesser wieder anstecken

elektrisch Stecker

Zwischen den Kontakten 3 und 4 muss bei eingeschalteter Zündung (Motor läuft nicht) eine Spannung von 5V gemessen werden.


Referenzen & Weblinks