Lenkrollhalbmesser

Aus Golf 1 und Golf Cabrio Wiki
Version vom 16. April 2013, 09:21 Uhr von Onestone (Diskussion | Beiträge)
(Unterschied) ← Nächstältere Version | Aktuelle Version (Unterschied) | Nächstjüngere Version → (Unterschied)
Zur Navigation springen Zur Suche springen


Dieser Artikel betrifft:
Modell: alle
Motor: alle
Baujahr: alle
Sonstiges: -

Hier einmal Erklärung, was ein Lenkrollhalbmesser ist und wie er beeinflußt wird:


Lenkrollhalbmesser Null:

Lenkrollhalbdurchmessernull.jpg

Wird gemessen auf der Fahrbahn zur Mitte der Radaufstandsfläche(a) zur Verlängerung der Spreizachse (b)(Schwenkachse)

Vorteile: -Höhere Rückstellkräfte -Spiel in den Spurstangengelenken wird beseitigt -Geringere Flatterneigung -Geringere Schwenkmomente als bei positiven Lenkrollradius

Nachteile: -Höhere Lenkkräfte -Räder drehen auf der Stelle -Leichtes gegenlenken bei unterschiedlichen Bremswirkungen -Gefahr des ausbrechen des Fahrzeuges


Lenkrollhalbmesser positiv:

Lenkrollhaldurchmesserpositiv.jpg

Wird gemessen zur Mitte der Radaufstandsfläche (a) nach innen zurVerlängerung der Spreizachse(B,Schwenkachse) gemessen auf derFahrbahn

Vorteile: - Hohe Rückstellkräfte nach dem LenkenSpiel in Spurstangengelenken wird beseitigt - Geringere Flatterneigung

Nachteile: -Hohe Lenkkräfte erforderlich besonders bei langsamer Fahrt - Gegenlenken bei unterschiedlichen Bremswirkungen nötig, Gefahr des Ausbrechens


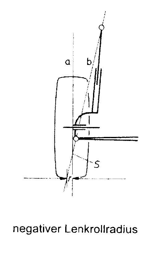
Lenkrollhalbmesser negativ:

Lenkrollhalbdurchmessernegativ.jpg

Gemessen auf der Fahrbahn von der Mitte der Radaufstandsflächezur Verlängerung der Spreizachse nach außen.

Vorteile:

- Guter Geradeauslauf bei + Unterschiedlichen Fahrbahnwiderständen + Unterschiedlicher Bremswirkungbei Reifendefekt- Stabilisierung des Fahrzeuges

Nachteile:

- Aufwändige Konstruktion, aber durch einstellbares Domlager ist kein Nachteil mehr, oder wie ab Golf 2 verbaut, Traggelenk ist in Langlöchern befestigt - Bremssattel als Schwimm- oder Faustsattelbremse zwingenderforderlich


Referenzen & Weblinks

by Ghost & thecabriolet.com